您好,欢迎访问我们网站,我们为您提供专职注塑模具设计服务!
新闻资讯
推荐案例

设计应用

注塑模具设计分模面的确定

发布日期:2024-11-17

打开模具取出胶件或浇注系统的面,称之为分模面。分模面除受排位的影响外,还受塑件的形状、外观、精度、浇口位置、行位、顶出、加工等多种因素影响。合理的分模面是塑件能否完好成型的先决条件。一般应从以下几个方面综合考虑:

(1)符合胶件脱模的基本要求,就是能使胶件从模具内取出,分模面位置应设在胶件脱模方向最大的投影边缘部位。

(2)确保胶件留在后模一侧,并利于顶出且顶针痕迹不显露于外观面。

(3)分模线不影响胶件外观。分模面应尽量不破坏胶件光滑的外表面。

(4)确保胶件质量,例如,将有同轴度要求的胶件部分放到分模面的同一侧等

(5)分模面选择应尽量避免形成侧孔、侧凹,若需要行位成形,力求行位结构简单,尽量避免前模行位.。

(6)合理安排浇注系统,特别是浇口位置。

(7)满足模具的锁紧要求,将胶件投影面积大的方向,放在前、后模的合模方向上,而将投影面积小的方向作为侧向分模面;另外,分模面是曲面时,应加斜面锁紧。

(8)有利于模具加工。

5.2.2 分模面注意事项及要求

(1)台阶型分模面

一般要求台阶顶面与根部的水平距D≥0.25,如图5.2.1所示。为保证D的要求,
一般调整夹角“A”的大小,当夹角影响产品结构时,应同相关负责人协商确定。当分模面中有几个台阶面,且H1≥H2≥H3时,角度“A”应满足A1≤A2≤A3,并尽量取同一角度方便加工。

台阶型分模面台阶顶面与根部的水平距

角度“A”尽量按下面要求选用:

当H ≤ 3mm,斜度 α ≥ 5˚;3mm ≤ H ≤ 10mm,斜度α ≥3˚;

H > 10mm,斜度α ≥ 1.5˚;

某些胶件斜度有特殊要求时,应按产品要求选取。

(2)曲面型分模面

曲面型分模面

当选用的分模面具有单一曲面(如柱面)特性时,如图5.2.2,要求按图5.2.2a的型式即按曲面的曲率方向伸展一定距离建构分模面。否则,则会形成如图5.2.3a所示的不合理结构,产生尖钢及尖角形的封胶面,尖形封胶位不易封胶且易于损坏。

产生尖钢及尖角形的封胶面

当分模面为较复杂的空间曲面,且无法按曲面的曲率方向伸展一定距离时,不能将曲面直接延展到某一平面,这样将会产生如图5.2.4a所示的台阶及尖形封胶面,而应该延曲率方向建构一个较平滑的封胶曲面,如图5.2.4b所示。

延曲率方向建构一个较平滑的封胶曲面

(3)封胶距离

模具中,要注意保证同一曲面上有效的封胶距离。如图5.2.3a ,5.2.3b所示,一般情况要求D≥3mm

有效的封胶距离

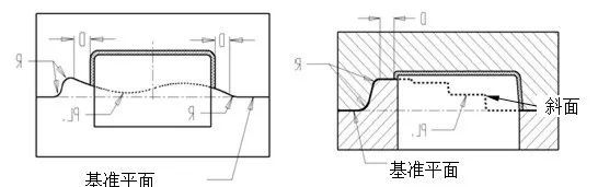
(4)基准平面

在建构分模面时,若含有台阶型、曲面型等有高度差异的一个或多个分型面时,必需建构一个基准平面,如图5.2.5a ,5.2.5b所示。

基准平面的目的是为后续的加工提供放置平面和加工基准。

(5)分模面转折位 如图5.2.6

此处的转折位是指不同高度上的分型面为了与基准平面相接而形成的台阶面。
台阶面要求尽量平坦,图示尺寸“A”一般要求大于15o,合模时允许此面避空。转角R优先考虑加工刀具半径,一般R≥3.0mm。

分模面转折位

(6)平衡侧向压力

由于型腔产生的侧向压力不能自身平衡,容易引起前、后模在受力方向上的错动,一般采用增加斜面锁紧,利用前后模的刚性,平衡侧向压力,如图5.2.7所示,锁紧斜面在合模时要求完全贴合。

分型面平衡侧向压力

角度A一般为15°,斜度越大,平衡效果越差。

(7)唧嘴碰面处平坦化

构建分模面时,如果唧嘴附近的分型面有高度差异,必须用较平坦的面进行连接,平坦面的范围要大于唧嘴直径,一般有效面积应大于Ø18mm,如图5.2.6所示

唧嘴碰面处平坦化

(8)细小孔位处分模面的处理

不论小孔处原身留,还是镶针,一般采取以下方法,对孔位进行构造。为了模具制作简单,建议孔位处镶针,但须经过设计者允许。

细小孔位处分模面的处理

A.直接碰穿 如图5.2.9 ,适用于碰穿位较平坦的结构。但对于“键盘”类的按键孔(如图5.2.10a),为了改变有可能产生的“批锋”的方向,常采用插穿形式的结构及尺寸,如图5.2.10b所示。

直接碰穿

B.中间平面碰穿 如图5.2.11a,适用于碰穿位较陡峭的结构采用中间平面碰穿的结构可以有效缩短碰穿孔处钢位的高度,改善钢位的受力情况。为避免前、后模偏位,建议采用5.2.11a图示尺寸及结构。图5.2.11b所示结构中,由于在碰穿处产生侧向分力,当碰穿孔较小时,在交变应力的作用下,碰穿孔处的钢位易于断裂,影响模具寿命。

中间平面碰穿

C.插穿 一般不采用,仅仅用在以下所示的情况。

(1)当“a”点与“b”的高度差小于0.5mm时,如图5.2.12a,采用插穿结构。

(2)当“a”点高于“b”点时,如图5.2.12b,采用插穿结构。

插穿

当采用插穿结构时,常采用图5.2.12c所示结构及尺寸。封胶面最小距离须保证1.0mm;导向部位斜度A≥5o 长度H≥2.5mm。

(9)避免产生尖钢

当分型线须分割一个曲面时,为了避免产生尖钢,分型面的方向应为分型线上任一点的法线方向。如图5.2.13所示。

避免产生尖钢

(10)综合考虑产品外观要求

对于单个产品,分型面有多种选择时,要综合考虑产品外观要求,选择较隐蔽的分型面。对于有行位分型的成品,行位分型线必须考虑相邻成品的结构,如相邻成品同样需要行位分型,那幺行位分型线应调整对齐;如图5.2.14a;5.2.14b;5.2.14c;如相邻成品不需行位分型,在满足结构的情况下,行位分型线应尽量缩短如图5.2.7d

考虑产品外观


在线留言
电话联络

电话联络

苏州出口模具设计电话联络
微信咨询
微信
返回顶部